Sabemos que BMW es uno de los pioneros en la movilidad eléctrica con su scooter C Evolution, de hace 10 años. Ahora este scooter se ha renovado con el BMW CE 04, toda una máquina de ingeniería y tecnología que dista mucho de la competencia. A pesar de ello, las motos (no scooter) eléctricas seguían brillando por su ausencia en el catálogo BMW. Quizá esto sea uno de los objetivos de la marca alemana, empezar a comercializar motos eléctricas además de sus ya conocidos scooters.
No obstante, BMW tampoco confía en que el futuro de la moto de carretera (moto grande) sea eléctrico, pero sí lo hace en la movilidad urbana (como ya hemos visto a través de sus scooters eléctricos). Es por ello que ahora BMW puede que trabaje en una moto eléctrica, pero de enfoque urbano, o inter-urbano. BMW tampoco rompe ningún molde con la noticia ya que, existen algunos concept de la marca como el Vision DC Roadster, un concepto de moto eléctrica que emula la estética bóxer tan característica de la marca. O la BMW E-Power Roadster prototype, un prototipo de moto eléctrica bastante exorbitado basada en una BMW S 1000 R con componentes de tecnología eléctrica procedente de las 4 ruedas. La realidad es que, las motos eléctricas cada vez tienen más autonomía, prestaciones, velocidad de recarga, sin embargo, cada vez cuestan más, y eso es otra realidad que frena el mercado de la moto eléctrica de carretera/grande.
La moto eléctrica urbana o de baja cilindrada tiene más ventajas que inconvenientes, ya que su producción y precio de venta son menores, lo que facilita la perspectiva financiera del comprador, viendo rentabilizada su compra en mucho menos tiempo. Esto es lo que hoy descubrimos en la patente filtrada de esta posible nueva BMW G 310 R eléctrica; una moto de uso urbano o periférico, motorizada con tecnología eléctrica. La moto que se visualiza en los diseños de la patente es muy similar a la BMW G 310 R, reciclando componentes técnicos del ya existente BMW CE 04. Todos los componentes principales (baterías, módulo de control, motor, etc) parecen prestados del CE 04. El CE 04 tiene una potencia de 42 cv, muy similar a la potencia de la G 310 R, aunque con más del doble de par motor.
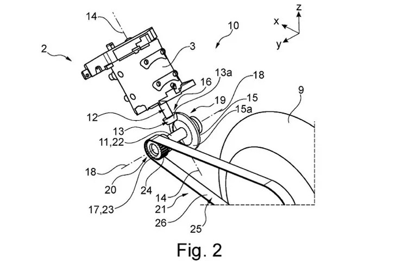
Para poder introducir todos estos componentes en una carrocería muy inferior a la del CE 04, estos han sido inteligentemente reorganizados. El más destacable es el motor, que se ha rotado 90 grados, por lo que la transmisión primaria ahora queda en orientación longitudinal en vez de transversal. También se ha inclinado (el motor) 45 grados, creando un conjunto más corto y alto. La transmisión nace de un engranaje cónico a través de un reductor que multiplica el par motor y reduce la velocidad de rotación del motor. Una transmisión final por correa y una corona grande añaden otra reducción. Las baterías también son prestadas del CE 04, pero ubicadas en una posición inclinada, adaptándose a ese paquete mecánico más corto y alto. Esto aumenta el centro de gravedad, lo que mejorará el comportamiento como moto de carretera sobre el diseño centrado en la estabilidad del scooter. Unidades de control, módulo de carga, etc, también comparten el mismo origen, el CE 04.




