En sus inicios, BMW se conocía como Bayerische Flugzeugwerke (Fábrica de aviones bávara), pero posteriormente adoptó el nombre actual, Bayerische Motoren Werke (Fábrica bávara de motores). Esto implica que la compañía alemana inició su trayectoria fabricando aviones, hecho reflejado en su escudo azul y blanco, que simboliza una hélice en movimiento, además de representar los colores de la bandera bávara.
No sorprende, entonces, que la marca alemana, aunque fabrica sus motocicletas en Berlín, se tome muy en serio la aerodinámica. Según informes de cycleworld.com, BMW ha desarrollado patentes que van más allá de los convencionales alerones presentes en las MotoGP y algunos modelos deportivos de calle.
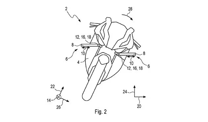
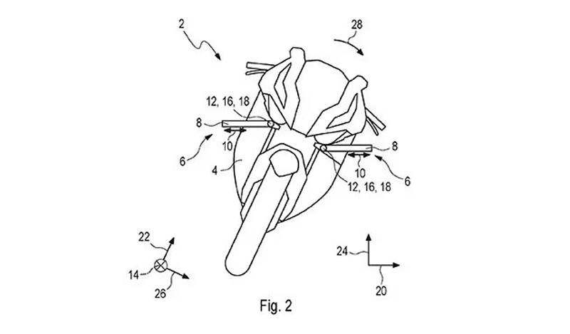
Estos nuevos alerones buscan aumentar la carga aerodinámica en las rectas, prevenir que la rueda delantera se eleve y mejorar la estabilidad en posición vertical. Sin embargo, surge la complicación en las curvas, donde las MotoGP alcanzan inclinaciones de hasta 70 grados.
BMW aborda este desafío diseñando alerones que permanecen paralelos al suelo incluso cuando la moto está inclinada, una propuesta interesante pero que no sería válida en MotoGP debido a las restricciones reglamentarias sobre dispositivos aerodinámicos móviles.
Es importante destacar que BMW no participa en MotoGP, pero sí en el WSBK, donde han fichado a Toprak Razgatlioglu para la temporada 2024. En el campeonato de motos derivadas de serie, el uso de apéndices aerodinámicos móviles sería legal, siempre y cuando también se utilicen en el modelo de venta al público.
La patente no detalla completamente el funcionamiento del invento, pero se sugiere que la IMU (centralita inercial) podría encargarse de mantener los alerones siempre paralelos al suelo. Queda por verse si esta innovadora idea llegará a la producción en serie y si algún día veremos a los motociclistas volar al estilo Superman, como sugiere humorísticamente la nota.




