Honda es una marca que se ha caracterizado durante años por su dominio del mercado del motor, y sus modelos son una prueba clara de su calidad. Sus pilotos han conseguido campeonatos a nivel mundial y han dejado aún más en alto el nombre de la firma japonesa.
Desde hace un tiempo existía el rumor de que llegaría una nueva deportiva del “ala dorada”. De acuerdo con las primeras especulaciones, se hablaba de una versión de calle de la RC213V, tal y como la que compite en el MotoGP, y actual campeona de este; sin embargo ya quedó claro que se tratará de una poderosa CBR1000RR, cuya funcion será dar el mejor papel en el mundial de Superbike.
Esta unidad, completamente revolucionada, marcará una línea entre el motociclismo que comúnmente vemos y el que nos espera en un futuro próximo, pues estará equipada de tal manera que el comerse las curvas será simplemente una tarea sencilla.
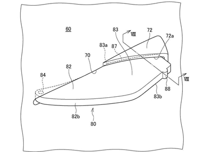
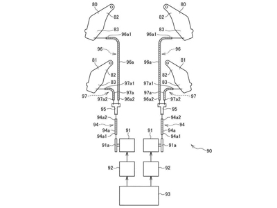
Aun cuando los detalles mecánicos no han sido especificados, algo que llama mucho la atención de la nueva deportiva es su novedoso sistema de alerones móviles a los costados, que la convierten en la primera unidad con aerodinámica variable. Conforme a lo que se observa en las imágenes de la patente registrada, existirá un par de alerones a cada lado, y estos se activarán para mejorar el rendimiento de la motocicleta en curvas o cuando la aceleración llegue a su máximo, y se retirarán hacia atrás durante las rectas.
También en las imágenes del registro realizado se aprecia que la nueva CBR1000RR es muy similar a la competidora de MotoGP. Sin embargo, queda completamente descartado que se trate de una de ellas, ya que el uso de este tipo de componentes está estrictamente prohibido en dicha competición. Sin embargo sí sería posible en SBK,, siempre y cuando también estuviera presente en la versión de calle.




