Problemas visualizando, click.

Magazine 374 / 02.03.20

La nueva BMW R18 Cruiser ya está en camino

Un prototipo que seguramente pronto saldrá a la venta.

Leer más
Yamaha Tracer 700, segunda generación

Mejorada, divertida y de fácil conducción. Así es la nueva motocicleta de la marca japonesa, que pondrá a flor de piel tus emociones.

Leer más
¡La espera ha terminado!

Ya está aquí la legendaria SUZUKI Katana 2020, visita a tu distribuidor más cercano y hazla tuya.

Leer más
Renovada y más vintage que nunca, ITALIKA Vitalia 150cc

El pasado jueves tuvimos el agrado de acompañar a nuestros amigos de ITALIKA en la presentación de la nueva Vitalia, fue un evento muy ad hoc al estilo de la motoneta.

Leer más
La nueva llanta DIABLO ROSSO III en Accesorios DESA

Está diseñada para motociclistas que aman rodar con un estilo de conducción perfecto, que desean experimentar en la carretera la misma seguridad y confianza que sienten al caminar.

Leer más
Ahora más cerca de ti, Bajaj Polanco

Por apertura, la agencia BAJAJ tiene diversos descuentos y promociones, ¡visitalos!

Leer más
No hay pretextos, ahora puedes probar la Bajaj Dominar 400 muy cerca de ti

Bajaj se dio a la tarea de poner a disposición del usuario una prueba de manejo de la DOMINAR 400 en cada una de sus sucursales.

Leer más
Alex Lowes se pone al frente en el Campeonato Mundial de Superbikes con Kawasaki

Toprak Razgatlouglu fue ganador de la primera carrera acompañado de su YAMAHA.

Leer más
Arranca el Campeonato Mundial de MXGP con la victoria de Jeffrey Herlings

¡Entérate de todo lo sucedido en la primera carrera celebrada en Gran Bretaña!

Leer más
Ken Roczen, el más rápido del AMA Supercross en Atlanta

Tras un fin de semana muy accidentado, el piloto de Honda logró la victoria.

Leer más
Merecido triunfo para Ulysses Escobedo en Mexbike

Tras una intensa lucha con el campeón Nahún Álvarez y su coequipero Alain Escobedo, Ulysses terminó victorioso en Mérida.

Leer más
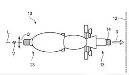
Patente de BMW para mitigar los impactos en moto

Un sistema realmente sencillo que provoca que la llanta delantera absorba las energías del impacto. Conoce su funcionamiento dentro de la nota.

Leer más
Kawasaki pronto lanzará una moto de tres ruedas

A través de unos planos y patentes filtrados, se dio a conocer que la marca japonesa está trabajando en un nuevo modelo.

Leer más
Una moto Honda de 1977 reinventada como una armadura de inspiración samurái

Existe una nueva pasión por renovar y reinventar modelos ya existentes, mezclando tradición con innovación y convirtiendo lo retro en futurista.

Leer más
Fred Merkel y sus 10 victorias en un año

Piloto americano que rompió récord al ganar 10 carreras consecutivas durante el año 1984.

Leer más
Esta temporada, equípate con REV’IT

Renueva tu equipo de pista con los atractivos diseños de la firma italiana.

Leer más
Un poco más de Colombia. Parte II

Naturaleza en todo su esplendor, música, vida y sabor sin comparación alguna. Rompe con lo establecido y ve más allá de los lugares más visitados.

Leer más
Twitter
Facebook
www.expomotonews.com
25-02-2019: Este correo electrónico y, en su caso, cualquier fichero anexo, contiene información exclusivamente dirigida a su destinatario. En caso de haber recibido este correo electrónico por error, se ruega notifíquese inmediatamente esta circunstancia a info@motociclo.com.mx Al mismo tiempo EXPO MOTO le recuerda que sus datos forman o formarán parte de un fichero registrado, propiedad de EXPO MOTO. Usted tiene derecho de acceso, oposición, rectificación y cancelación a estos datos que deberá ejercer mediante escrito a la dirección anteriormente citada. Expo Moto es una marca registrada. Los logotipos de patrocinadores fueron proporcionados por la misma marca. Queda prohibido el uso de las imágenes difundidas en este correo. © 2013 EXPO MOTO Todos los derechos reservados.
© 2013 EXPO MOTO Todos los derechos reservados.