Problemas visualizando, click.

Magazine 536/ 02.05.23

Yamaha Demo Day 2023

Y tú, ¿Ya conoces lo más nuevo de Yamaha?

Leer más
Conoce la nueva KTM 890 SMT

Diversión salvaje con este nuevo modelo 2023. Ofrece la versatilidad necesaria para atacar las curvas de montaña, además de interesantes características para viajes largos.

Leer más
Inmediatamente inconfundible, Bimota KB4

Todo sobre la KB4 es exclusivo, de apariencia Vintage Spirit. Conócela dentro de dos semanas en Expo Moto Guadalajara.

Leer más
¿Imáginas un casco con diseño de Marvel, DC o Red Bull?

Conoce la nueva colección de cascos de HJC en su presentación para México, del 18 al 21 de mayo durante Expo Moto Guadalajara.

Leer más
A 3 días de Expo Moto Guadalajara

¡Expo Moto ya está a la vuelta de la esquina! Te espera este próximo jueves a partir de las 11:00 a.m. La plataforma en la que encontrarás las mejores marcas de la industria de las dos ruedas y el Off Road.

Leer más
Gran rodada Expo Moto 2023, ¡vívela!

Este 21 de mayo tenemos una cita en Expo Guadalajara a partir de las 9:00 hrs en donde podrás ser ganador de una motocicleta Hero Ignitor 125, cada kilo de alimento es una oportunidad para ganar. Entérate de los detalles.

Leer más
Rodada con causa "GIXXER de corazón"

Todos unidos por los SUZUKIDS, rodando donando y cumpliendo sueños.

Leer más
Sólo faltan 3 días para la Feria de las 2 Ruedas en Medellín, Colombia y Expo Moto estará presente

En Motociclo te tendremos los detalles del día a día de este magno evento.

Leer más
Bienvenidos al Festival de Motociclismo Biker Teotihuacán 2023

El portal energético ha sido abierto para recibir a las miles de almas que ruedan con destino a la Ciudad de los Dioses. ¡Nos vemos en mayo!

Leer más
Extraordinaria victoria de Pecco Bagnaia en el GP de España en Jerez

Con un total de 163,479 personas entre los tres días de GP, se logró un récord de asistentes desde el 2019.

Leer más
Jeffrey Herlings conquista el MXGP de Portugal

El Holandés se lleva la victoria en Águeda; Febvre y Prado fueron sus acompañantes en el podio en la categoría 450.

Leer más
Chase Sexton gana el Supercross de Nashville y ocupa el segundo lugar en el campeonato

Hunter Lawrence obtiene el título de la clase Western Regional 250SX con una victoria en Music City.

Leer más
Moto Guzzi V100, una motocicleta moderna con tecnologías avanzadas

La increíble motocicleta destaca por su mejoría en el motor, sistema de frenos, suspensión, panel de instrumentos, luces led y control de tracción. Conócela a detalle.

Leer más
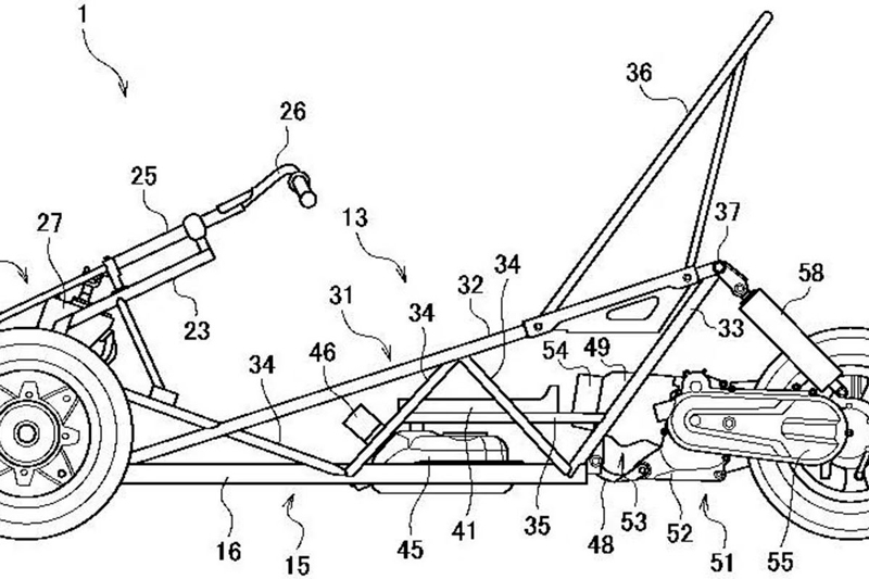
Suzuki patenta un moto-kart de tres ruedas

Suzuki, marca presente en Expo Moto Guadalajara, nos muestra el prototipo de un interesante triciclo, en el que el piloto va sentado de la misma manera que en un kart.

Leer más
Yambreta, una motocicleta de bajo costo en 1975

La moto creada por Yamaha contaba con un motor 50cc de dos tiempos, alcanzando una velocidad máxima de 50 km/h.

Leer más
Jess y Moxie, una aventura épica para chicas

Jess Stone es una aventurera que ha dado la vuelta al mundo con su pastor alemán de 75 libras en su BMW, no en un sidecar o remolque, en la parrilla trasera.

Leer más
Lola Anaya y la espectacular CFMOTO CL-X700 Adventure

Ambas bellezas protagonizaron una atractiva sesión de fotos con la que te puedes deleitar en la siguiente nota.

Leer más
Disfruta Ensenada sobre ruedas

Rueda por una de las carreteras más impresionantes de México y disfruta de la agradable brisa.

Leer más
Twitter
Facebook
www.expomotonews.com
25-02-2019: Este correo electrónico y, en su caso, cualquier fichero anexo, contiene información exclusivamente dirigida a su destinatario. En caso de haber recibido este correo electrónico por error, se ruega notifíquese inmediatamente esta circunstancia a info@motociclo.com.mx Al mismo tiempo EXPO MOTO le recuerda que sus datos forman o formarán parte de un fichero registrado, propiedad de EXPO MOTO. Usted tiene derecho de acceso, oposición, rectificación y cancelación a estos datos que deberá ejercer mediante escrito a la dirección anteriormente citada. Expo Moto es una marca registrada. Los logotipos de patrocinadores fueron proporcionados por la misma marca. Queda prohibido el uso de las imágenes difundidas en este correo. © 2013 EXPO MOTO Todos los derechos reservados.
© 2013 EXPO MOTO Todos los derechos reservados.