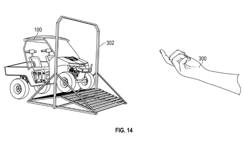
El sistema descrito en la patente, denominado “Control autónomo y semiautónomo de vehículos todoterreno”, utiliza sensores, cámaras y controladores remotos para automatizar el proceso de carga en remolques o camionetas. Los sensores detectan rampas de carga, mientras que las cámaras analizan el entorno y permiten al vehículo responder a gestos del operador o comandos enviados desde un dispositivo móvil.
Además, el sistema puede interpretar imágenes captadas a su alrededor, lo que permite al usuario “señalar” hacia dónde debe moverse el UTV. Esta funcionalidad no solo facilita las maniobras, sino que también minimiza el riesgo de caídas, aceleraciones bruscas o errores humanos durante la carga.
Implementación y futuro
Aunque aún no hay fecha confirmada para su lanzamiento, las tecnologías descritas en la patente son relativamente sencillas de implementar, lo que sugiere que podríamos ver esta innovación en el mercado más pronto de lo esperado. Polaris, líder en vehículos todoterreno, continúa demostrando su compromiso con la seguridad y la eficiencia mediante soluciones tecnológicas de vanguardia.
Esta nueva patente promete revolucionar la manera en que los usuarios manejan sus UTVs, proporcionando mayor comodidad y reduciendo riesgos en situaciones cotidianas de carga y estacionamiento.




