Se han presentado unas patentes japonesas de lo que podría ser el futuro triciclo de Suzuki. El piloto no va sentado como lo haría en un kart. En realidad el artilugio de Suzuki es una especie de híbrido entre triciclo y kart de tres ruedas. Una estructura que ya ha empleado Polaris en su Slingshot. La diferencia es que el vehículo de Polaris tiene dos plazas y el de Suzuki una. El triciclo Suzuki emplea un manillar convencional y es capaz de inclinarse en las curvas por completo.
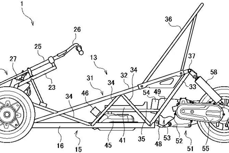
En el prototipo de la patente se aprecia con claridad que el motor no es un potente bicilíndrico o tetracilíndrico, sino un humilde motor de scooter que como tal va acoplado al basculante. No sabemos la cilindrada pero diríamos que se trata de un 125 cc.
Tampoco falta la transmisión por variador continuo propio de los scooter. El freno trasero es a tambor, una solución ya bastante desfasada pero que no hace sino confirmar la hipótesis de que se trata de un humilde propulsor de 125 cc o similar. La suspensión posterior también procede de un scooter. En la patente Suzuki describe su vehículo como “una configuración sencilla y económica”. Al igual que el MP3 o el Tricity, va dirigido a aquellos que se sienten más seguros sobre un triciclo en comparación con un scooter o una moto convencional. El bajo centro de gravedad deberá contribuir a la estabilidad del conjunto aunque la contrapartida negativa es que la visión del piloto no es tan amplia en comparación a cuando se adopta una postura convencional.




