Yamaha continúa su investigación en tecnologías innovadoras para sus futuras motocicletas eléctricas, como lo demuestran las recientes patentes reveladas. Estas soluciones a simple vista, ofrecen características únicas que podrían transformar el mundo del motocross.
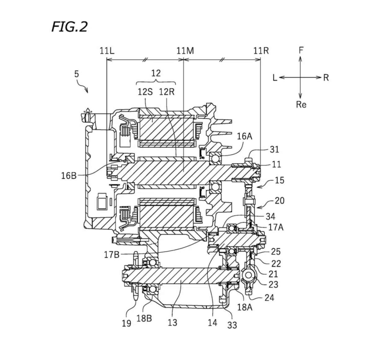
La compañía ha patentado un sistema de propulsión eléctrica diseñado específicamente para el motocross, explorando cómo mejorar la tracción y aumentar el par motor. Esta decisión estratégica responde a las ventajas de la competencia en carreras de duración corta, donde no se requieren grandes baterías y se pueden explorar entornos urbanos o bajo techo, ampliando así su alcance.
A diferencia de las transmisiones directas convencionales en vehículos eléctricos, han optado por incorporar un volante y un embrague convencional en su diseño. Este enfoque permite a los pilotos mantener el motor y el volante en movimiento con el embrague desacoplado, mejorando el equilibrio a baja velocidad y ofreciendo ráfagas instantáneas de rendimiento al utilizar la potencia almacenada en el volante de inercia.
Sin embargo, para optimizar el diseño, Yamaha ha implementado un amortiguador de torsión en la transmisión. Este dispositivo, formado por una pareja de rotores montados coaxialmente y conectados mediante resortes, proporciona un aislamiento entre los cambios de velocidad del motor, la transmisión y la rueda trasera, al tiempo que funciona como un almacén de energía adicional para ofrecer un impulso adicional cuando sea necesario.
La innovación presentada en estas patentes sugiere un futuro emocionante para las motocicletas eléctricas de Yamaha. Con una posible revelación de un nuevo y revolucionario prototipo, podrían estar preparándose para cambiar las reglas del juego en el mundo de las carreras del motocross.




